丝瓜视频污版在线观看,丝瓜IOS视频下载,丝瓜APP网站入口,黄色丝瓜视频在线观看

      丝瓜视频污版在线观看机器人培训机构,打造优秀丝瓜IOS视频下载培训机器视觉培训中心。
      17722706519
      资料分享横幅

      一文告诉你PLC初学者梯形图如何编程

      发布时间: 2019-03-25发布者: 浏览量: 6859

      初学PLC梯形图编程,应要遵循一定的规则,并养成良好的习惯。下面以三菱FX系列PLC为例,简单介绍一下PLC梯形图编程时需要遵循的规则,希望对大家有所帮助。有一点需要说明的是,本文虽以三菱PLC为例,但这些规则在其它PLC编程时也可同样遵守。


      一,梯形阶梯都是始于左母线,终于右母线(通常可以省掉不画,仅画左母线)。每行的左边是接点组合,表示驱动逻辑线圈的条件,而表示结果的逻辑线圈只能接在右边的母线上。接点不能出现在线圈右边。如下图(a)应改为(b):


      二,接点应画在水平线上,不应画在垂直线上,如下图(a)中的接点X005与其它接点间的关系不能识别。对此类桥式电路,应按从左到右,从上到下的单向性原则,单独画出所有的去路。如图(b)所示:


      三,并联块串联时,应将接点多的去路放在梯形图左方(左重右轻原则);串联块并联时,应将接点多的并联去路放在梯形图的上方(上重下轻的原则)。这样做,程序简洁,从而减少指令的扫描时间,这对于一些大型的程序尤为重要。如下图所示:


      四,不宜使用双线圈输出。若在同一梯形图中,同一组件的线圈使用两次或两次以上,则称为双线圈输出或线圈的重复利用。双线圈输出一般梯形图初学者容易犯的毛病之一。在双线圈输出时,只有最后一次的线圈才有效,而前面的线圈是无效的。这是由PLC的扫描特性所决定的。


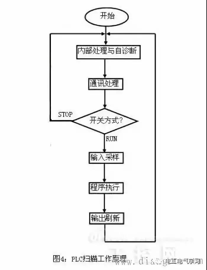
      PLC的CPU采用循环扫描的工作方式。一般包括五个阶段(如图所示):内部诊断与处理,与外设进行通讯,输入采样,用户程序执行和输出刷新。当方式开关处于STOP时,只执行前两个阶段:内部诊断与处理,与外设进行通讯。


      1,输入采样阶段


      PLC顺序读取每个输入端的状态,并将其存入到丝瓜视频污版在线观看称之为输入映像寄存器的内在单元中。当进入程序执行阶段,如输入端状态发生改变.输入映象区相应的单元信息并不会跟着改变,只有在下一个扫描周期的输入采样阶段,输入映象区相应的单元信息才会改变。因此,PLC会忽视掉小于扫描周期的输入端的开关量的脉冲变化。


      2,程序执行阶段


      PLC从程序0步开始,按先上后下,先左后右的顺序扫描用户程序并进行逻辑运算。PLC按输入映象区的内容进行逻辑运算,并把运算结果写入到输出映象区,而不是直接输出到端子。


      3,输出刷新阶段


      PLC根据输出映象区的内容改变输出端子的状态。这才是PLC的实际输出。

      以上简单说明了PLC的工作原理,下面丝瓜视频污版在线观看再以实例说明为什么编写梯形图程序,不宜重复使用线圈。如下图所示,设输入采样时,输入映象区中X001=ON,X002=OFF,Y003-ON,Y004=ON被实际写入到输出映象区。但继续往下执行时,因X002=OFF,使Y003=OFF,这个后入为的结果又被写入输出映象区,改变原Y003的状态。所以在输出刷新阶段,实际外部输出Y003=OFF,Y004=ON。许多新手就碰到过这样的问题,为什么X001已经闭合了,而Y003没有输出呢?逻辑关系不对。其实就是因为双线圈使用造成的。


      注意:丝瓜视频污版在线观看所说的是不宜(最好不要)使用双线圈,双线圈使用并不是绝对禁止的,在一些特殊的场合也可以使用双线圈,这时就需要你有较丰富的编程经验和技巧了。下面丝瓜视频污版在线观看会谈到这一点。但对于初学者还是不要冒这个险。其实,从以上的例子可以看出,重复利用线圈之所以会造成Y003的输出混乱,是由于程序是从上到下顺序执行的缘故造成的。但如果丝瓜视频污版在线观看可以改变程序执行的顺序,保证在任何时刻两个线圈只有一个驱动逻辑发生,就可以使用双线圈。其中,最常用的方法就是使用跳转指令。如下图所示:

      程序分析:M0闭合,程序跳至P0处(不执行X001语句),M0常闭断开,CJP1不会发生,执行下一语句。此时,Y003将X002状态进行驱动。M0断开时,程序顺序执行并按X001的状态对T003进行驱动,M0常闭闭合,跳至P1按X003状态对Y004进行驱动,即跳过了X002驱动Y003的语句。可见,在同一时刻,Y003驱动只有一个可以发生。此时,双线圈利用是可以的。

      但在梯形图编程时,丝瓜视频污版在线观看还是要尽量避免使用双线圈,而引入辅助继电器是一个常用的方法。


      联系丝瓜视频污版在线观看


      佛山总部:南海区狮山一环兴业路中国机器人集成创新中心
      河北校区:唐山市曹妃甸区曹妃甸职业技术学院行知路25号

      咨询热线:17722706519 卢老师(微信同号)

      Copyright © 2018 All Rights Reserved 丝瓜视频污版在线观看机器人版权所有  www.honbrand-nj.com 站备案号:粤ICP备28019589号

       中国(广东)机器人集成创新中心 广州、深圳、东莞、佛山、武汉丝瓜IOS视频下载培训   佛山丝瓜视频污版在线观看机器人技术服务有限公司 正规的丝瓜IOS视频下载培训机构、机器视觉培训、PLC编程培训学校 技术支持:优博科技

      网站地图